2001년07월23일 28번
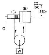
[임의구분] 다음과 같은 기중장치(A의 길이 25cm, B의 반지름 20cm, C의 반지름 10cm)를 사용하여 중량(W) 500kgf 인 화물을 들어 올릴 때 A에서 당기는 힘은 몇 kgf 인가?

- ① 100
- ② 250
- ③ 1000
- ④ 2500
(정답률: 60%)
문제 해설
B에서의 지지력 = 중량(W) × B의 반지름(20cm) ÷ (A의 길이(25cm) + B의 반지름(20cm))
= 500 × 20 ÷ (25 + 20)
= 200 kgf
따라서 A에서 당기는 힘은 B에서의 지지력과 같으므로, 200kgf가 됩니다. 하지만 문제에서는 정답을 kgf로 요구하고 있으므로, 200kgf를 2로 나누어 100kgf가 됩니다. 따라서 정답은 "100"입니다.