용접산업기사 (2008년05월11일 기출문제)
1과목 : 용접야금 및 용접설비제도
1번
용접 후 제품의 잔류 응력을 제거하는 방법이 아닌 것은?
2번
고장력강 용접시 주의사항 중 틀린 것은?
3번
피복 아크 용접봉에 습기가 많을 때 나타나는 것은?
4번
주철 용접이 곤란한 이유 중 맞지 않는 것은?
5번
오스테나이트계 스테인리스 강의 용접시 발생하기 쉬운 고온 균열에 영향을 주는 합금원소 중에서 균열의 증가에 가장 관계가 깊은 원소는?
6번
순철의 자기 변태온도는 약 얼마인가?
7번
아크용접에서 피복제의 역할에 대하여 틀린 것은?
8번
다음 중 열영향부의 냉각속도에 영향을 미치는 용접조건이 아닌 것은?
9번
알루미늄의 성질을 설명한 것으로 틀린 것은?
10번
질화법의 종류가 아닌 것은?
11번
다음 용접 기호를 설명한 것으로 틀린 것은?

12번
다음 중 평면도법에서 인벌류트곡선에 대한 설명이다. 올바른 것은?
13번
투상법에서 시점과 대상물의 각 점을 연결하고 대상물의 형태를 투상면에 찍어내기 위하는 선은?
14번
도면의 크기에서 A4 제도 용지의 크기는? (단, 단위는 ㎜ 이다.)
15번
도면의 작도시에 패킹, 얇은판 등을 표시하는 아주 굵은선의 굵기는 가는선의 몇 배 정도인가?
16번
다음 중 그림과 같은 리벳 이음의 명칭은?

17번
특수한 가공을 하는 부분 등 특별한 요구사항을 적용할 수 있는 범위를 표시 하는데 사용하는 선은?
18번
용접의 기본기호 중 가장자리 용접을 나타내는 것은?
19번
한쪽면 K형 맞대기 이음 용접의 기본기호는?
20번
다음의 용접기호 중에서 플러그용접을 나타내는 기호는?
2과목 : 용접구조설계
21번
용접구조물을 설계할 때 주의 해야 할 사항 중 틀린 것은?
22번
아크용접에서 한쪽 끝에서 다른 쪽 끝을 향해 연속적으로 진행하는 용접 방법으로서 용접이음이 짧은 경우나 변형과 잔류응력이 그다지 문제가 되지 않을 때 이용되는 용착 방법은?
23번
피닝(peening)에 대한 설명으로 맞는 것은?
24번
저온 응력 완화법은 일정한 온도를 가열하고, 급냉시켜 용접선 방향의 인장 잔류 응력을 완화는 방법이다. 이때 가스염은 용접선을 중심으로 폭 몇 ㎜를 정속도 이동하며, 몇 ℃ 정도로 가열시키는가?
25번
용접 결함의 종류 중 구조상 결함이 아닌 것은?
26번
맞대기 용접 이음 흠의 종류가 아닌 것은?
27번
그림과 같은 용접부에 발생하는 인장응력(σt)은 약 몇 kgf/mm2인가?

28번
용접구조물 작업시 고려하여야 할 사항으로 틀린 것은?
29번
용접봉의 소요량 계산에 사용하는 용착효율이란?
30번
각종 금속의 예열에 관한 설명으로 잘못된 것은?
31번
잔류 응력의 측정법을 정량법과 정성법으로 분류할 때 정량법에 해당하는 것은?
32번
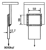
폭 50㎜, 두께 12.7㎜인 강판 두장을 38㎜만큼 겹쳐서 전주 필릿용접을 하였다. 여기에 외력 P=9000kgf의 하중을 작용시킬 때 필요한 필릿용접 이음의 치수(목길이)는 몇 ㎝인가? (단, 용접부의 허용응력은 σa=1020kgf/cm2 이다.)

33번
다음 중에서 플레어 용접은?
34번
용접시 발생되는 잔류응력의 영향과 관계 없는 것은?
35번
용접부 검사에서 초음파 탐상 시험법에 속하는 것은?
36번
탱크나 용기의 용접부에 기밀 · 수밀을 검사하는데, 가장 적합한 검사 방법은?
37번
연강의 맞대기 용접이음에서 인장강도가 28kgf/mm2 이고, 안전율이 5일 때 이음의 허용응력은 약 몇 kgf/mm2 인가?
38번
용접 지그를 적절히 사용할 때의 이점이 아닌 것은?
39번
맞대기 용접부의 접합면에 홈(groove)을 만드는 가장 큰 이유는?
40번
용접시 잔류응력을 경감시키기 위한 시공법이 아닌 것은?
3과목 : 용접일반 및 안전관리
41번
잠호용접의 장점에 속하지 않는 것은?
42번
피복금속 아크 용접에서 운봉 속도가 너무 느리면 나타나는 결함은?
43번
피복아크 용접봉 홀더에 관한 설명으로 틀린 것은?
44번
용접봉 홀더 200호로 접속할 수 있는 최대 홀더용 케이블의 도체공칭 단면적은 몇 mm2인가?
45번
KS 안전색에서 “황적” 색이 표시하는 사항은?
46번
가스용접에서 산소용기에 각인되어 있는 것의 설명이 틀린 것은?

47번
독일식 가스용접 토치의 팁 번호가 7번일 때 용접할 수 있는 가장 적당한 강판의 두께는 몇 ㎜ 인가?
48번
연강용 피복아크 용접종의 종류 중 철분산화철계는 어느 것인가?
49번
보통 절단시 판두께가 12.7㎜일 때 표준 드래그(drag)의 길이는 몇 ㎜인가?
50번
가스용접에 전진법과 후진법을 비교할 때 각각의 설명으로 옳은 것은?
51번
TIG용접을 직류 정극성으로 하면 비드는 어떻게 되는가?
52번
산소병 취급방법에서 틀린 것은?
53번
아크 빛으로 인해 혈안이 되고 눈이 부었을 때 우선 조치해야 할 사항으로 가장 옳은 것은?
54번
미세한 알루미늄과 산화철 분말을 혼합한 테르밋제에 과산화 바륨과 마그네슘 분말을 혼합한 점화제를 넣고, 이것을 점화하면 점화제의 화학 반응에 의해 그 발열로 용접하는 것은?
55번
불화성 가스 용접법 중 TIG 용접의 상품명으로 불려 지는 것은?
56번
다음 용접법 중 가장 두꺼운 판을 용접할 때 능률적인 것은?
57번
연강용 피복아크 용접봉 심선의 철(Fe) 이외의 화학 성분에 대하여 KS에서 규정하고 있는 것은?
58번
브레이징(Brazing)은 저온 용가재를 사용하여 모재를 녹이지 않고 용가재만 녹여 용접을 이행하는 방식인데, 섭씨 몇 ℃ 이상에서 이행하는 방식인가?
59번
다음 중 융접에 속하지 않는 용접은?
60번
불활성 가스 금속 아크 용접의 특징 설명으로 틀린 것은?
연도별
- 2020년08월22일
- 2020년06월06일
- 2019년08월04일
- 2019년03월03일
- 2018년08월19일
- 2018년04월28일
- 2018년03월04일
- 2017년08월26일
- 2017년05월07일
- 2017년03월05일
- 2016년08월21일
- 2016년05월08일
- 2016년03월06일
- 2015년08월16일
- 2015년05월31일
- 2015년03월08일
- 2014년08월17일
- 2014년05월25일
- 2014년03월02일
- 2013년08월18일
- 2013년06월02일
- 2013년03월10일
- 2012년08월26일
- 2012년05월20일
- 2012년03월04일
- 2011년08월21일
- 2011년06월12일
- 2011년03월20일
- 2010년07월25일
- 2010년05월09일
- 2010년03월07일
- 2009년07월26일
- 2009년05월10일
- 2009년03월01일
- 2008년07월27일
- 2008년05월11일
- 2008년03월02일
- 2007년08월05일
- 2007년05월13일
- 2007년03월04일
- 2006년08월06일
- 2006년05월14일
- 2006년03월05일