항공기체정비기능사 (2015년04월04일 기출문제)
1과목 : 비행원리
1번
다음 중 동압과 정압에 대한 설명으로 옳은 것은?
2번
다음 중 버핏(buffit) 현상을 가장 옳게 설명한 것은?
3번
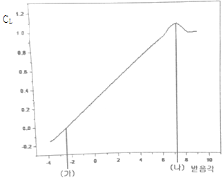
그림과 같은 받음각에 따른 양력계수(CL)의 변화를 나타낸 그래프에서 (가)와 (나)에 대한 용어로 옳은 것은?

4번
비중량에 대한 설명으로 옳은 것은?
5번
수직 꼬리날개와 동체 상부에 장착하여 방향 안정성을 증가시키기 위한 것은?
6번
공기의 밀도 단위가 kgfㆍs2/m4 으로 주어질 때 kgf 단위의 의미는?
7번
회전익 항공기에서 회전축에 연결된 회전날개 깃이 하나의 수평축에 대해 위 아래로 움직이는 운동은?
8번
프로펠러 깃의 압력 중심의 기본적인 위치를 나타낸 것으로 옳은 것은?
9번
헬리콥터가 전진비행을 할 때 회전 날개 깃에 발생하는 양력분포의 불균형을 해결할수 있는 방법으로 가장 옳은 것은?
10번
비행기가 평형상태에서 벗어난 뒤에 다시 평형상태로 돌아가려는 초기의 경향을 가장 옳게 설명은 한 것은?
11번
수평비행을 하던 비행기가 연직 상방향으로 관성력을 받을 때 비행기의 하중배수를 옳게 나타낸 식은?
12번
활공기가 고도 2400m 상공에서 활공을 하여 수평 활공 거리 36Km를 비행하였다면, 이때 양항비는 얼마인가?
13번
입구의 지름이 10cm이고, 출구의 지름이 20cm인 원형관에 액체가 흐르고 있다. 지름 20cm ,되는 단면적에서의 속도가 2.4m/s일 때 지름 10cm 되는 단면적에서의 속도는 약 몇 m/s 인가?
14번
고속형 날개에서 항력 발산 마하수를 넘어서면 어떤 항력이 급증하는가?
15번
프로펠러 항공기 기관의 제동마력이 260ps 이고, 프로펠러 효율이 0.8 일 때 이 비행기의 이용 마력은 몇 ps 인가?
16번
다음 중 신뢰성 정비 방식을 채택 할 수 있는 여건으로 가장 거리가 먼 것은?
17번
수직 공간이 제한된 곳에 사용되는 스크류 드라이버의 명칭으로 옳은 것은?
18번
항공기의 접지에 대한 설명으로 옳은 것은?
19번
보통 나무, 종이, 직물 및 잡종 폐기물 등과 같은 가연성 물질에서 일어나는 화재는?
20번
다음 ( ) 안에 들어갈 알맞은 용어는?

2과목 : 항공기정비
21번
『MSS20426AD4-4』리벳을 사용한 리벳 배치 작업 시 최소 끝거리는 몇 인치인가?
22번
표면이 눌려 원래의 외형으로부터 변형된 현상으로 단면적의 변화는 없으며 손상부위와 손상되지 않는 부위 사이와의 경계 모양이 완만한 형상을 이루고 있는 결함은?
23번
좁은 장소에서 작업 할 때 굴곡이 필요한 경우 래칫 핸들, 스피드 핸들, 소켓 또는 익스텐션 바와 같이 사용되는 그림과 같은 것은?

24번
게이지블록(GAGE BLOCK)에 대한 설명으로 틀린것은?
25번
2개 이상의 굽힘이 교차하는 부분의 안쪽 굽힘 접선 교점에 발생하는 응력집중에 의한 균열을 방지하기 위해 뚫는 구멍은?
26번
휴대용 소화기 중 조종실이나 객실에 설치되어 일반 화재,전기 화재 및 기름 화재에 사용되는 소화기는?
27번
다음 중 성형점에서 굴곡접선까지의 거리를 나타낸 명칭은?
28번
항공기의 지상취급에 해당되지 않는 작업은?
29번
밑줄 친 부분의 영문 내용으로 옳은 것은?

30번
운항정비 기간에 발생한 항공기 정비 불량 상태의 수리와 운항 저해의 가능성이 많은 각 계통의 예방 정비 및 감항성을 확인하는 것을 목적으로 하는 정비작업은 ?
31번
볼트와 너트로 체결하는 작업시 안전 및 유의 사항에 대한 설명으로 틀린 것은?
32번
항공기용 기계요소 및 재료에 대한 규격 중 군(military)에 관련된 규격이 아닌 것은?
33번
다음 중 헬리콥터의 지상 정비지원은 어떤 정비에 해당 되는가 ?
34번
비파괴 검사법 중 피폭안전에 철저한 관리가 요구되는 검사법은?
35번
화학적 또는 전기화학적 반응에 의해 재료의 성질이 변화 또는 퇴화하는 현상을 무엇이라 하는가?
36번
샌드위치 구조에 대한 설명으로 틀린 것은?
37번
복합재료를 제작할 때 사용되는 섬유형 강화재가 아닌 것은?
38번
다음 중 ATA 100에 의한 항공기 시스템 분류가 틀린 것은?
39번
수평꼬리날개에 대한 설명으로 틀린 것은?
40번
주회전 날개 트랜스미션의 역할이 아닌 것은?
3과목 : 항공기체
41번
헬리콥터의 스키드 기어형 착륙장치에 대한 설명으로 틀린 것은?
42번
테일로터가 장착된 호버링 헬리콥터의 방향 조종 방법은?
43번
헬리콥터의 테일붐에 있는 구조로 회전날개에서 발생하는 토크를 상쇄시키는데 기여하며 위쪽과 아래쪽의 대칭 구조를 갖고 있는 것은?
44번
열가소성 수지 중 유압 백업링(back-up ring), 호스(hose), 패킹(packing), 전선피복(coating) 등에 사용되는 수지는?
45번
다음 중 대형항공기에 주로 사용되는 뒷전플랩은 ?
46번
항공기 기체 수리 도면에 리벳과 관련된 다음과 같은 표기의 의미는?

47번
강도를 중시하여 만들어진 고강도 알루미늄 합금이 아닌 것은?
48번
기관 마운트를 선택하기 전에 고려하지 않아도 되는 것은?
49번
항공기 위치 표시 방법 중 기수 또는 기수로부터 일정한 거리에 위치한 상상의 수직면을 기준으로 하는 방법은?
50번
인장력을 받는 봉에서 발생하는 변형률의 단위는?
51번
랜딩기어 계통에서 트라이 사이클 기어 배열의 장점이 아닌 것은?
52번
특수강 SAE 2330에 대한 설명으로 옳은 것은?
53번
항공기용으로 가장 흔한 저압타이어에 다음과 같이 표기되어 있다면 옳은 설명은?

54번
하중배수에 대한 설명으로 옳은 것은?
55번
구리의 성질로 틀린 것은?
56번
응력이 제거되면 변형률도 제거되어 원래 상태로 회복이 가능한 한계응력을 나타내는 것은?
57번
폭 3CM, 너비 12CM 직사각형 단면인 24CM 길이의 사각봉에 288kgf 의 인장력이 작용할 때 인장응력은 약 몇 kgf/m2 인가?
58번
헬리콥터의 꼬리부분에 해당하지 않는 것은?
59번
다음 중 고정 지지보를 나타낸 것은?
60번
금속의 표면경화 방법 중 질화처리(nitriding)에 대한 설명으로 틀린 것은?
연도별
- 2016년04월02일
- 2016년01월24일
- 2015년10월10일
- 2015년04월04일
- 2015년01월25일
- 2014년10월11일
- 2014년04월06일
- 2014년01월26일
- 2013년10월12일
- 2013년04월14일
- 2013년01월27일
- 2012년10월20일
- 2012년04월08일
- 2012년02월12일
- 2011년10월09일
- 2011년04월17일
- 2011년02월13일
- 2010년10월03일
- 2010년03월28일
- 2010년02월12일
- 2009년09월27일
- 2009년03월29일
- 2009년01월18일
- 2008년10월05일
- 2008년03월30일
- 2008년02월03일
- 2007년04월01일
- 2007년01월28일
- 2006년10월01일
- 2006년01월22일
- 2005년10월05일
- 2005년04월03일
- 2005년01월30일
- 2004년10월10일
- 2004년04월04일
- 2004년02월01일
- 2003년10월05일
- 2003년03월30일
- 2003년01월26일
- 2002년10월06일
- 2002년04월07일
- 2002년01월27일
- 2001년10월14일
- 2001년07월22일
- 2001년04월29일