2015년03월08일 66번
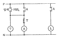
[회로이론 및 제어공학] 다음과 같은 계전기 회로는 어떤 회로인가?

- ① 쌍안정 회로
- ② 단안정 회로
- ③ 인터록 회로
- ④ 일치 회로
(정답률: 24%)
문제 해설
이 회로는 "단안정 회로"입니다. 이는 전압이나 전류의 변화에 따라 출력이 일정하게 유지되는 회로로, R1과 R2가 양쪽에 있어서 양쪽의 전압이 서로 균형을 이루게 되어 출력이 일정하게 유지됩니다.
연도별
- 2022년04월24일
- 2022년03월05일
- 2021년09월12일
- 2021년05월15일
- 2021년03월07일
- 2020년09월26일
- 2020년08월22일
- 2020년06월06일
- 2019년09월21일
- 2019년04월27일
- 2019년03월03일
- 2018년09월15일
- 2018년04월28일
- 2018년03월04일
- 2017년09월23일
- 2017년05월07일
- 2017년03월05일
- 2016년10월01일
- 2016년05월08일
- 2016년03월06일
- 2015년09월20일
- 2015년05월31일
- 2015년03월08일
- 2014년09월20일
- 2014년05월25일
- 2014년03월02일
- 2013년09월28일
- 2013년06월02일
- 2013년03월10일
- 2012년09월15일
- 2012년05월20일
- 2012년03월10일
- 2011년10월02일
- 2011년06월12일
- 2011년03월20일
- 2010년09월05일
- 2010년05월10일
- 2010년03월07일
- 2009년08월30일
- 2009년05월10일
- 2009년03월01일
- 2008년09월07일
- 2008년05월11일
- 2008년03월02일
- 2007년09월02일
- 2007년05월13일
- 2007년03월04일
- 2006년09월10일
- 2006년05월14일
- 2006년03월05일
- 2005년09월04일
- 2005년05월29일
- 2004년09월05일
- 2004년05월23일
- 2004년03월07일
- 2003년05월25일
- 2003년03월16일
- 2002년03월10일
진행 상황
0 오답
0 정답